Какой песок нужен для фундамента
Наиболее экономичны фундаменты из крупнозернистого песка. Их устраивают под небольшие одноэтажные здания на непучнистых грунтах с низким уровнем, стояния подпочвенных вод, ниже на 0,5—1 м уровня заложения фундамента (6) и хорошим поверхностным водоотводом.

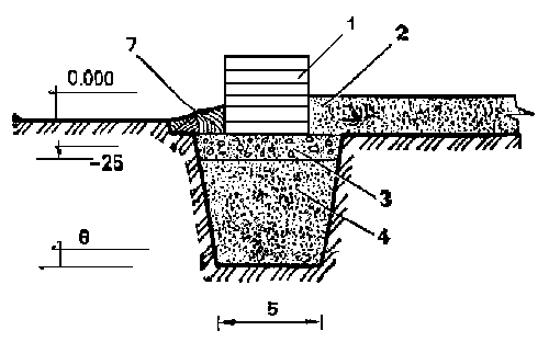
Конструкция песчаного фундамента:
1—цоколь; 2—подсыпка; 3—слой щебня, гравия или кирпичного боя толщиной 20 см с проливкой раствором; 4 — песчаный фундамент; 5—ширина фундамента; 6—уровень заложения; 7 — глиняный замок.
Песчаный фундамент потребует минимума земляных работ и расхода дорогостоящих строительных материалов. Удалив почвенно-растительный слой, можно приступать к отсыпке песка. Нижнюю часть фундамента сформируют несколько последовательно уложенных слоев толщиной по 15-20 см. Каждый после укладки трамбуется и поливается водой. Верхняя часть (не доходя 25 - 30 см до планировочной отметки) выполняется из скрепленных цементным раствором гравия, щебня или кирпичного боя с послойным трамбованием.
Похожие материалы:
Поделиться с друзьями:
Последние сообщения форума
-
Черный чай отзывы., (Ответов 57) - Гость, 16.07.2017 в 07:22
-
Где купить мангал, (Ответов 1) - webguru, 13.07.2017 в 01:33
-
Котел Казак отзывы., (Ответов 48) - Гость, 13.07.2017 в 01:27
-
Подскажите пожалуйста, (Ответов 3) - jordan23, 13.07.2017 в 01:22
-
Лечение щитовидной железы, (Ответов 3) - Гость, 13.07.2017 в 01:19
-
Баня при простуде, (Ответов 3) - Гость, 13.07.2017 в 01:13
-
Фитонциды растений, (Ответов 1) - Гость, 13.07.2017 в 01:11
-
выбор котла, (Ответов 73) - viktor-kalincev, 13.07.2017 в 01:06
-
Успокаивающие травы., (Ответов 2) - Гость, 12.07.2017 в 22:26
-
Плохая тяга на печке УМКА 100 ВК, (Ответов 1) - Гость, 07.07.2017 в 17:52
Популярные темы
-
Печь Казачка., (Ответов 102) - Константин Белый, 16.04.2017 в 13:42
-
выбор котла, (Ответов 73) - viktor-kalincev, 13.07.2017 в 01:06
-
Отзывы о печи Казачка, (Ответов 68) - Aleks, 21.02.2017 в 11:48
-
Пеллетная горелка, (Ответов 65) - guest, 21.01.2017 в 17:41
-
Новый котел твердотопливный стальной (КТС) Казак., (Ответов 64) - Константин Белый, 06.07.2017 в 13:05
-
Посоветуйте, (Ответов 63) - drakon-7, 15.06.2017 в 15:16
-
Чистка котла, (Ответов 59) - Юрий, 21.03.2017 в 20:27
-
Казан мангал VIRA BUHARA фото , (Ответов 59) - Гость, 21.03.2017 в 20:38
-
Выбор топлива, (Ответов 58) - osadom, 20.03.2017 в 10:19
-
Какая печь лучше для бани?, (Ответов 58) - Гость, 10.02.2017 в 11:52